比較電極
指示電極の起電力を測定するための基準用電極であって、溶液のpHや酸化剤、還元剤の濃度とは無関係に一定の電位を保つ性能を持っています。参照電極、照合電極などと呼ばれることもあります。
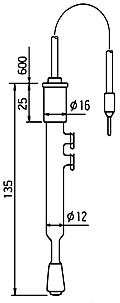
比較電極 RE-201


| パーツNo. | D231242-A |
|---|---|
| 品名 | 比較電極 |
| 形式 | RE-201 |
| 主な使用目的 | 中和/酸化還元滴定 |
| 温度範囲 | 0~100℃(被滴液が凍らないものとする) |
| 内部極 | 銀/塩化銀 |
| 内部液 | 4M塩化カリウム |
| プラグ形状 | φ2A形×1 |
| コネクタ部 | Bs |
| ケーブル部 | Cu,PE,PVC |
| キャップ部 | フェノール樹脂 |
| 補充口部 | EPR |
| 本体 | ガラス |
| 摘要 | - |
※内部液は、使用容器の変更や容量など、都合により予告無く変更させていただく場合があります。
比較電極 RE-241


| パーツNo. | D230096-A |
|---|---|
| 品名 | 比較電極 |
| 形式 | RE-241 |
| 主な使用目的 | 沈殿滴定 |
| 温度範囲 | 0~60℃(被滴液が凍らないものとする) |
| 内部極 | 銀/塩化銀 |
| 内部液 | ・内筒用:4M-KCl内部液(AgCl入り) ・外筒用:飽和硝酸カリウム溶液 |
| プラグ形状 | φ2A形×1 |
| コネクタ部 | Bs |
| ケーブル部 | Cu,PE,PVC |
| キャップ部 | フェノール樹脂 |
| 補充口部 | EPR |
| 本体 | ガラス |
| 摘要 | ダブルジャンクション形 |
※内部液は、使用容器の変更や容量など、都合により予告無く変更させていただく場合があります。
銀比較電極 MS-231


| パーツNo. | D231243-A |
|---|---|
| 品名 | 銀比較電極 |
| 形式 | MS-231 |
| 主な使用目的 | 沈殿滴定 |
| 温度範囲 | 0~60℃(被滴液が凍らないものとする) |
| 内部極 | 硫酸第一水銀 |
| 内部液 | 0.35mol/L硫酸カリウム |
| プラグ形状 | φ2A形×1 |
| コネクタ部 | Bs |
| ケーブル部 | Cu,PE,PVC |
| キャップ部 | フェノール樹脂 |
| 補充口部 | EPR |
| 本体 | ガラス |
| 摘要 | 内部極に 「硫酸第一水銀」 を使用しています。廃棄する場合は分解せず、専門の産業廃棄物処理業者に依頼してください。 |
※内部液は、使用容器の変更や容量など、都合により予告無く変更させていただく場合があります。